首页  机构简介  办事指南  规章制度  信息公开  下载专区 

详细内容

 
 
当前位置: 首页>>办事指南>>正文

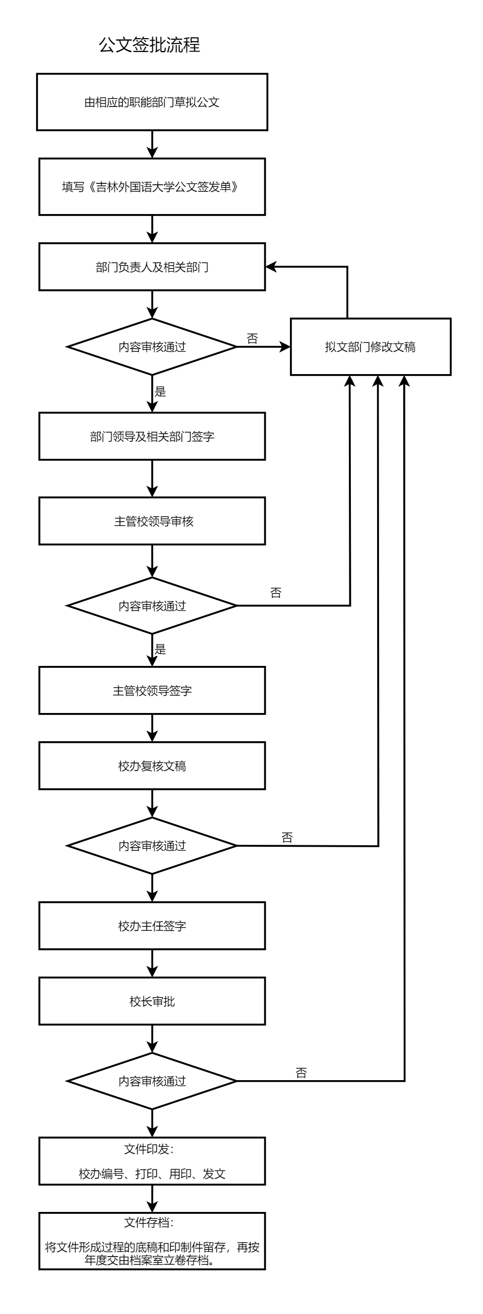
吉林外国语大学公文签批流程
2024-12-31 19:28  

业务名称:发文办理流程

办理时间:工作日全天

负责人:马老师

地点:明德楼508室

电话:0431-84565013

版权所有:吉林外国语大学校长(党委)办公室        地址:净月大街3658号 | 邮编:130117